
The concept of an "exhaust system" for an electric vehicle isn't a new idea. Up until now, giving an electric car an exhaust meant outfitting it with a speaker to pump out tailpipe noises reminiscent to a gas-powered counterpart (looking at you, Dodge Charger Daytona). But what if we told you that one car company found an entirely different use for one?
It turns out that Stellantis has found a far less controversial use for an EV exhaust. It's not about style or sound, either—instead, it's focusing entirely on safety. Now, I know what you're thinking: How can an exhaust be used for safety? A new patent published by the United States Patent and Trademark Office and first reported on by Green Car Reports shows how the automaker believes it can help reduce the risk of EV battery fires.
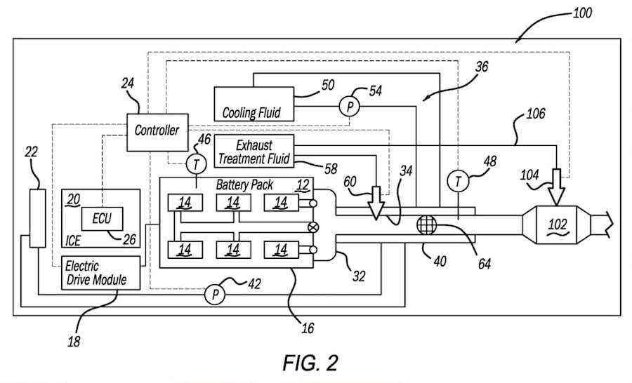
It probably seems confusing that an exhaust can help to prevent a battery fire, but if we dig into what exactly happens when an EV battery overheats, everything will start to fall in place.
When a battery experiences some sort of catastrophic failure—short circuits, mechanical damage, external fire, overcharging, or any other number of conditions—it can experience a phenomenon engineers call thermal runaway. As the name implies, the cell doesn't just fizzle out, it can throw a chemical tantrum. As a result, it can release a cocktail of flammable gasses made up of hydrogen, methane, acetylene, propane, and more. Definitely, things that you don't want mixing with high temperatures in this circumstance.
Enter Stellantis' genius solution: a system that vents those gasses outside of the battery pack to avoid a spontaneous combustion within the pack that turns a high-dollar EV into a certified bonfire. Or, as they so eloquently call it, an electric vehicle exhaust system.
Now the system doesn't just vent these noxious gasses out of the pack when it fails. The automaker's patent describes using multiple "treatment zones" to chemically scrub those gasses before releasing them into the atmosphere. It's sort of like a catalytic converter, except for off-gassing failed battery cells instead of exhaust fumes.
It might seem like modern EVs are designed to reduce the likelihood of fires already—and, sure, they are. Battery systems in EVs are built like a tightly monitored powerhouse with tons of sensors and fancy liquid cooling setups to help regulate temperatures. However, Stellantis isn't banking on things never going wrong. EVs aren't infallible, after all, just ask South Korea about its recent EV fire freak-out. Safety is achieved through redundancies, and that's what this patent is here to provide.
Stellantis isn't the only company thinking outside of the box about how to prevent EV battery fires. Bosch, for example, suggested using small controlled explosions to physically disconnect an EV battery in the event of a crash—and modern pyrofuses do exactly that.
At the end of the day, the concept of an EV "exhaust" just sounds weird on paper. But should something viable come out of Stellantis' patent, it could be a game changer in EV fire safety. And, sure, EV fires aren't a common occurrence, but it's better to be prepared.
Related News